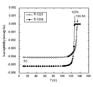
常盤和靖氏(現在東京理科大渡辺恒夫研究室助手)らは、高圧合成されたTl-1234系超伝導体がTc〜126Kまで上昇することを示した。田中浩介氏と田中康資氏(産総研伊原グループ)らは還元アニーリングによってTl-1223系のTcを130K以上にまで引き上げることに成功した。高圧下で試料を合成することにより、BaおよびCaサイトへのTl置換が抑制されてポテンシャルの乱れが取り除かれ、その結果この系の持つ本来のTcが引き出されたのだろうと伊豫彰氏(産総研伊原グループ)は述べている。高いTcを再現性良く得るための試料作製条件も明らかにされており、現在Tl-1223でTc=133.5K、Tl-1234でTc =127Kが得られている(図1)。
このTc>130KのTl-1223に関して、従来の試料(Tc?120K)では見られなかった興味深い性質も発見されている。有山稔氏(当時電総研 徳本グループ)はTl-1223のアニール効果実験を行い、オーバードーピングからオプティマムドーピングの間に超伝導が異常に抑制される領域があることを発見した。寺田教男氏(鹿児島大 工学部助教授)はTl-1223系試料において、酸素量を減らしていくと Tlの価数変化によるセルフドーピングが生じ、Cuの価数が単調には変化しないことを光電子分光により明らかにした。このことは長谷泉氏(産総研エレクトロニクス研究部門)によってバンド計算でも示唆されている。ストライプ秩序によるTc抑制の可能性もあるという。今後の研究に期待したい。
核磁気共鳴(NMR)による研究も行われている。徳永陽氏、小手川恒氏(大阪大北岡研)らによると、Tc>130KのTl-1223とHg-1223の酸素4配位と5配位のCuのナイトシフトの絶対値や温度依存性が極めて似ているという。その特徴は、2種類のCuO2面のドーピングレベルがオプティマムドーピングに近いレベルで接近していることにある。Tl-1234など超伝導ブロックにCuO2面が4枚ある場合は2種類のCuO2面のドーピングレベルの差が大きくなるためTcが下がっているとし、もしドーピングレベルを均一にできたら更にTcが上昇するのではないかと彼らは指摘している。
Tl一層系試料の合成に関しても進展があった。Tl一層系の合成はTl二層系に比べ難しく、一般的にTlおよびBaサイトの一部をそれぞれPbやBi、Srといった元素で置換することによりTl一層系の合成がなされている。通常、Tl系はBa-Ca-Cu-O系の前駆体とTl2O3を使って合成される。Baを含む前駆体は炭素が残留しやすく、わずかな残留炭素によりTl二層系が生成しやすくなる。Tl一層系を再現性良く得るためにはBa:Cのモル比を100:1程度以下にする必要があるらしい。伊原グループではこれらの研究成果を基に、Tl系や(Tl,Cu)系の高性能な薄膜やバルクの作製研究が進められている。銀シース線材への応用も再検討されている。Tl一層系はHg系と共に77Kより高温で利用できる可能性を秘めた物質であるものの、Tlの毒性、難合成、弱結合などの問題のため実用化研究は近年それ程行われなくなってきている。弱結合などの問題が改善されればBi系、Y系に続く第三番目の実用材料として注目されるかも知れない。

(KAPPA)