SUPERCONDUCTIVITY COMMUNICATIONS, Vol.22, No.1 February, 2013
縦磁界効果を利用した新しい超伝導直流電力ケーブル _九州工業大学_
このたび、九州工業大学において縦磁界効果を利用した新しい超伝導直流電力ケーブルが提案された。ケーブルには RE 系コート線材を使用し、液体窒素温度での運転を想定している。縦磁界効果は 1960 年代に金属系超伝導体で発見された現象で、いろいろな特徴を有し、その最も顕著な特徴が、超伝導体に平行な磁界 ( 縦磁界 ) を加えた場合に図 1 のように臨界電流密度が自己磁界下の値より大きくなる、というものである。今回のケーブルもそうした特徴を活用したものである。
この特徴を利用するには、まず、ケーブル内の超伝導線に縦磁界を加える必要がある。このためにケーブルの外にコイルを巻きつけて電流を流すのでは、コイルのコストがかかり、しかも電力を使用することとなり、得策ではない。それを解決する方法として、外側の遮蔽層 ( これは帰線として使用 ) を一方向にツイストすればよく、この電流が内側の導体層に縦磁界を加えるので、極めて効率的である。
次に縦磁界効果が実現するように内部の導体構造を形成する必要がある。これには、まず巻線部を中空の金属系超伝導体で置き換え、これに縦磁界を加えた場合に超伝導体の中を流れる電流を模擬するようにコート線材を配線すればよい。具体的には縦磁界下の超伝導体の電磁現象に関する知識が必要になるが、内部の電流は局所的に磁界と平行になるように流れることが知られている。つまり Lorentz 力が働かない状態となり、これをフォース・フリー状態という。この場合、内側の導体層も縦磁界効果の一つである常磁性効果により縦磁界を生じ、外側遮蔽層からの寄与との和で、かなり強い縦磁界を作ることができる。縦磁界効果およびフォース・フリー状態の起源に関しては SUPERCOM 99 号 (2009 年 6 月号「 Force-free トルクと縦磁界効果」 ) を参照されたい。フォース・フリー構造の実現の方法の概略を説明すると、最内層ではほぼ軸方向の磁界となるので配線はその方向とし、それより外側に移るにしたがって軸方向の磁界は弱まる一方で周方向磁界が強まるので、それに合わせて配線の角度を強くしていくことになる。図 2 に示す構造では内側導体を流れる電流と、外側の遮蔽層を逆向きに流れる電流が縦磁界を強めあっていることに注目されたい。
交流ケーブルの場合は、生じる縦磁界が余分の損失をもたらすため、縦磁界は極力打ち消しあう構造としているが、こうしたことも一つの盲点となって、これまでずっと縦磁界効果の利用がなされてこなかったのかもしれない。
この新しいケーブルの有利な点を図 3 の臨界電流密度の特性曲線の違いを用いて説明しよう。通常の超伝導ケーブルでは、その臨界点は特性曲線 J c ⊥ ( B ) と負荷曲線との交点 P で決まり、その臨界電流密度は最外層の P と最内層の Q の間に分布し、ほぼその平均値となる。一方、新しい超伝導ケーブルの場合、外側シールド層が与える磁界 m 0 H e を起点として負荷曲線がスタートし、特性曲線 J c ‖ ( B ) との交点 R が臨界点となる。しかも、フォース・フリー状態では磁束密度が導体領域で一様となるため、全域の臨界電流密度が R における値となる。このようにバイアスがあることと特性曲線が右上がりであることから臨界点がかなり高磁界に移動することに加えて、フォース・フリー状態の特性から臨界電流密度の大きな差がもたらされる。したがって、新しい超伝導ケーブルの方が大きな輸送能力をもつ。
この新しいケーブルの開発研究は科学技術振興機構の先端的低炭素化開発事業 (ALCA) に採択された九州工業大学で行われている。最近、明らかにされたのは、現時点における市販 RE 系コート線材の縦磁界下の臨界電流密度は図 1 のように縦磁界とともに顕著に増加することはなく、ほぼ一定か、むしろ緩やかに減少することである。これは超伝導層に a 軸配向粒や c 軸傾角粒が存在し、それと c 軸配向したマトリックスとの界面が弱結合となるので、電流がそこを迂回して乱れ、完全なフォース・フリー状態とはならないからである。そのため、九州工業大学の担当者によれば、現時点では完全なフォース・フリー状態を目指すよりも、少し電流と磁界の間に角度を持たせ、 Lorentz 力を 0 にしなくても大幅に減少させるような、より自由度の高い設計がよく、線材の特性に合わせた最適構造の設計が重要であるという。すなわち、強いてフォース・フリー構造を保とうとすると、図 2 のように最外層を大きくねじることになるが、そうしても大きな利点がなく、むしろ輸送電流成分が減少する影響の方が大きくなるのである。今後、コート線材の製作技術が向上し、明確な縦磁界効果が確認されるようになれば、フォース・フリー構造を採用すればよいとのことである。また、そうした観点からは、使用温度は 20 K 付近と下がるが、極めて高い臨界電流密度を示し、弱結合がない MgB 2 薄膜の利用は大きな可能性があると言えるであろう。 (Mr. ピンニング ) 
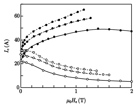
図 1. 4.2 K における Nb 3 Sn の横磁界下 ( ○ ) および縦磁界下 ( ● ) の臨界電流密度。いずれも中性子照射欠陥の導入により増加する (Kuren と Novak(1964) による ) 。

図 2. コート線材を用いた新しいケーブルの構造。外側のシールド層の構造には任意性があるが、一方向にねじることが重要。内側導体層に上向きの、シールド層に下向きの電流が流れる場合、いずれも上向きの縦磁界を生じる。

図 3. 横磁界下 ( J c ⊥ ) と縦磁界下 ( J c ‖ ) の臨界電流密度特性および通常の超伝導ケーブルの負荷曲線 ( 破線 ) と新しい超伝導ケーブルの負荷曲線 ( 一点鎖線 ) 。 m 0 H e は外側シールド層が与える磁界。